红外测温仪(手腕)使用介绍
手腕红外测温仪---使用说明
产品名称:红外测温仪
测量距离:1—10厘米
测量范围:35℃—43℃
响应时间:0.5s
通 信:USB/蓝牙(供电用USB)
适用范围:通过测量前额或手腕的热辐射来显示被测对象的体温
结构组成:该产品由红外温度传感器信号接收处理器、按键、PCB板、蜂鸣器及数码显示器组成。
温馨提示 :使用前请确保电池电量充足,以免影响使用。
声明:
1、请不要将本品放置在离电磁范围太近的地方(如收音机、手机等);
2、请不要将本品暴露在阳光下或靠近火炉,更不要与水接触;
3、需要清洗时,请用酒精轻轻擦拭仪器表面。

一、刷卡测温仪使用步骤
1、测温仪连接WiFi
(1)配网之前,先长按“M”键

(2)手机打开wifi搜索并连接网络“MQ2_XXXXXXXX”。具体网络名称见设备机身,每一台都不一样。

(3)手机自动打开网页(如下图),在页面按顺序分别输入路由器帐号、密码,最后点保存,测温仪自动连接上路由器。

连接WiFi常见问题
a:手机没有自动打开网页,则手动打开浏览器输入“192.168.4.1”,如果页面没打开请刷新一下;然后在页面按顺序分别输入路由器帐号及密码,最后点保存。
b. 只能连接2.4Gwifi。
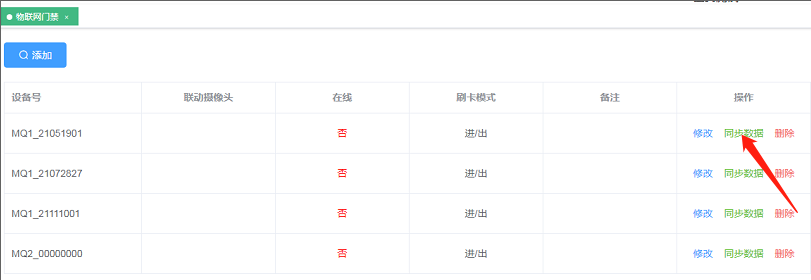
2、电脑登陆网址(g.qd596.com),进入签到帮手校园管理端,选择“物联网门禁”,点“添加",输入测温仪设备号。根据使用场景,刷卡模式可以选择“进”“出”或“进/出”模式。


3、选择“同步数据”

声明:
1、没测温直接刷卡,只播报学生姓名;
2、温度<35.0℃,屏幕显示温度,刷卡只播报学生姓名;
3、35.0℃≤温度<报警温度,刷卡后播报学生姓名加温度值;
4、温度>报警温度,刷卡后播报“温度过高”;
5、温度>42.9℃,屏幕显示“Hi”字样。
注意:根据人的肤色,厚度和人体部位的不同以及环境温度变化较大时,所测得的温度数值会有所不同,这是很正常的。因为越是裸露在外的人体部位就越是受环境温度的影响越大。
二、蓝牙测温仪(无刷卡功能)使用介绍
1、用USB给测温仪供电,刷卡机接上鼠标,点“网络”,打开蓝牙设置;
2、点“网络”-“手腕测温仪”,在弹出的对话框输入测温仪序列号,点连接。

3、点击“设置”,选择“蓝牙手腕测温限制(新)”即可。

声明:
1、温度<35.0℃,屏幕显示温度,喇叭播报;
2、35.0℃≤温度<37.2℃,喇叭播报“体温正常”;
3、37.2℃≤温度<37.9℃,喇叭响“滴滴”两声,播报“体温过高”;
4、37.9℃≤温度≤42.9℃,喇叭响“滴滴滴”三声,播报“体温超高”;
5、温度>42.9℃,屏幕显示“Hi”字样。